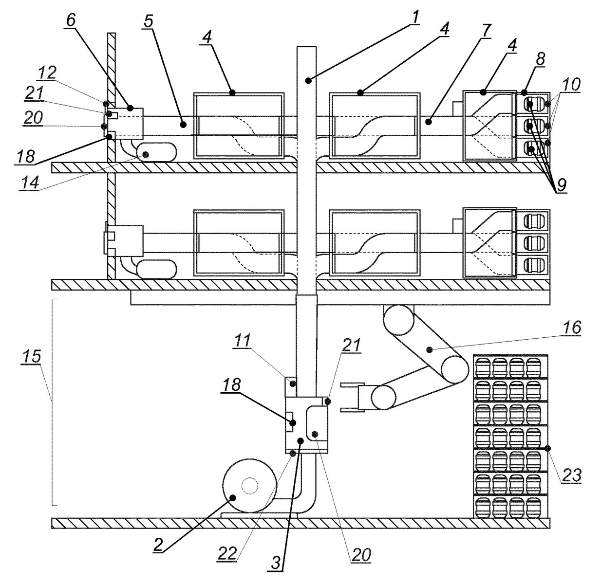
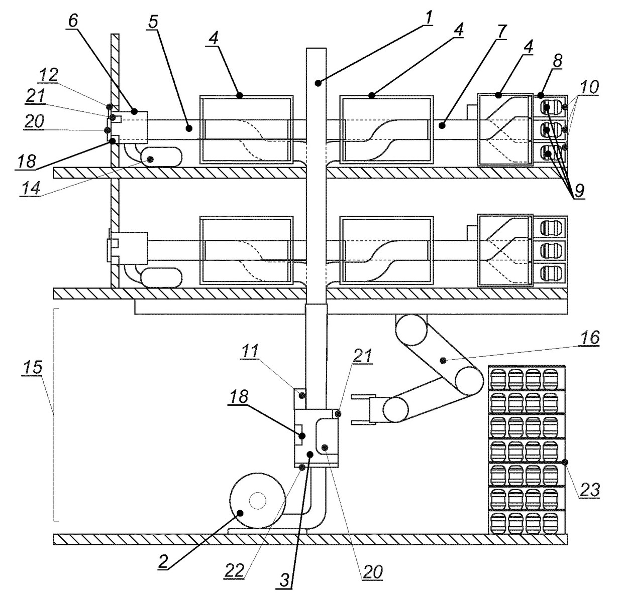
Urząd Patentowy poinformował o udzieleniu patentu na wynalazek zatytułowany: "Instalacja pneumatyczna do dystrybucji i segregacji śmieci w budynku wielokondygnacyjnym". Autorem patentu jest dr Michał Piętal, pracownik naukowy Zakładu Systemów Złożonych na PRz.
Rozwiązanie opisuje elektronicznie sterowany system transmisyjny kapsuł zawierających pojemniki na śmieci w dużych (np. > 10 pięter) budynkach mieszkalnych, na bazie tzw. poczty pneumatycznej. Kapsuły deponowane są w specjalnych punktach, jeszcze w mieszkaniach, następnie są automatycznie przekazywane do pojemników śmieciowych. System wspiera segregację śmieci na frakcje oraz możliwość szczegółowych rozliczeń opłat na poszczególne mieszkania (oraz frakcje).





